地 址: 河南省巩义市西村工业区
联系人: 庞经理
手 机: 15617617287
15038001853
E_mail: gyltgd@126.com
网 址: /
http://www.gyltgdc.com/


防水套管,又叫穿墙套管,穿墙管。柔性防水套管一般适用于管道穿过墙壁之处受有振动或有严密防水要求的构筑物,套管部分加工完成后,在其外壁均刷底漆一遍(底漆包括樟丹或冷底子油)。防水套管分为刚性防水套管和柔性防水套管。两者主要是使用的地方不一样,柔性防水套管主要用在人防墙,水池等要求很高的地方,刚性防水套管一般用在地下室等管道需穿管道地位置。
柔性防水套管是适用于管道穿过墙壁之处受有振动或有严密防水要求的构筑物的五金管件,一般生产企业是根据建筑科学研究院研制设计的S312、02S404标准图集制造的。柔性防水套管穿墙处之墙壁,如遇非混凝土时应改用混凝土墙壁,而且必须将套管一次凝固于墙内;柔性防水套管施广泛用于建筑、化工、钢铁、自来水、污水处理等单位。
刚性防水套管是钢管外加翼环(钢板做的环形套在钢管上),装于墙内(多为混凝土墙),用于一般管道穿墙,利于墙体的防水,而柔性防水套管除了外部翼环,内部还有档圈之类的,法兰内丝,有成套卖的,也可自己加工,用于有减震需要的管路,如和水泵连接的管道穿墙时。
不管是柔性防水套管还是刚性防水套管都是用于管道穿过受有振动或有严密防水要求的建筑物墙壁的五金配件,常用于建筑、化工、钢铁、自来水、污水处理等单位。
刚性防水套管和柔性防水套管最直观的不同,外观上看就是不同的,柔性防水套管内部有橡胶止水环,如用在水池壁时防止漏水。它们安装长度是不一样的,柔性套管的标准长度是300mm而刚性套管的标准长度是200mm,但是它们有个共同点就是可以施工的需要任意加长或减短。
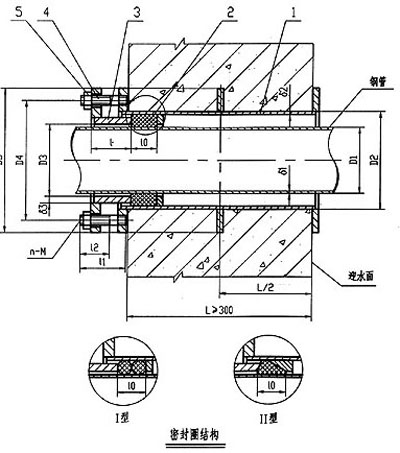
02S404柔性防水套管说明:
1、本图尺寸均以毫米来计。
2、柔性防水套管一般穿过墙壁之处受有振动或有严密防水要求的构筑物。
3、套管部分加工完成后,在其外壁均刷底漆一遍(底漆包括樟丹或冷底子油)。外层防腐由设计决定。
4、套管穿墙之墙壁,如遇非混凝土墙壁时应改用混凝土墙壁,其浇注混凝土范围应比翼环直径( D6 )大 200mm ,而且必须将套管浇固与墙内。
5、穿管处之混凝土墙厚应不小于 300mm 否则应使墙壁一边加厚或两边加厚。加厚部分的直径最小应比翼环直径( D6 ) 200mm
6、套管的材料重量是按墙厚 L 值为 300mm 应另行计算。
7、套管部件焊接材料,用 A3 材料制作, T42 焊接。

I型柔性防水套管说明:
1、当迎水面为腐蚀性介质时,可采用封堵材料将缝隙封堵。
2、套管穿墙处如遇非混凝土墙壁时,应局部改用混凝土墙壁,其浇注范围应比翼环直径(D5)大200,而且必须将套管一次浇固于墙内。
3、穿管处混凝土墙厚应不小于300,否则应使墙壁一边加厚或两边加厚,加厚部分的直径至少为D5+200。
4、套管的重量以L=300计算,如墙厚大于300时,应另行计算。

II型柔性防水套管说明:
1、柔性填料材料:沥青麻丝、聚苯乙烯板、聚氯乙烯泡沫塑料板。
2、密封膏:聚硫密封膏、聚胺脂密封膏。
3、套管穿墙处如遇非混凝土墙壁时,应局部改用混凝土墙壁,其浇注范围应比翼环直径(D5)大200,而且必须将套管一次浇固于墙内。
4、穿管处混凝土墙厚应不小于300,否则应使墙壁一边加厚或两边加厚,加厚部分的直径至少为D5+200。
5、套管的重量以L=300计算,如墙厚大于300时,应另行计算。
技术参数:
02S404柔性防水套管质量要求
|
名称 |
标准 |
|
橡胶密封圈的硬度、 |
HG/T3091:2000 |
|
金属表面生锈处理 |
GB8923-88/标准中的ST3 |
02S404柔性防水套管主要尺寸、重量表
| DN | D1 | D2 | D3 | D4 | D5 | I | 10 | I1 | I2 | D1 | D2 | D3 | n-M | A型重量(kg) | B型重量(kg) | |||
| I型 | Ⅱ型 | I型 | Ⅱ型 | I型 | Ⅱ型 | |||||||||||||
| 50 | 60 | 95 | 65 | 145 | 200 | 65 | 28 | - | 72 | 30 | 3.5 | 4 | 8 | 4-M12 | 14.40 | - | 14.60 | - |
| 65 | 76 | 114 | 80 | 165 | 220 | 65 | 28 | 25 | 72 | 30 | 3.75 | 4 | 8 | 4-M12 | 16.89 | 17.07 | 17.18 | 17.35 |
| 80 | 89 | 127 | 95 | 180 | 235 | 65 | 28 | 25 | 76 | 38 | 4 | 4 | 10 | 4-M16 | 21.12 | 21.31 | 21.42 | 21.61 |
| 100 | 108 | 146 | 114 | 200 | 255 | 65 | 28 | 25 | 76 | 38 | 4 | 4.5 | 10 | 4-M16 | 24.37 | 24.58 | 24.71 | 24.92 |
| 125 | 133 | 180 | 140 | 235 | 290 | 65 | 28 | 25 | 76 | 38 | 4 | 6 | 10 | 6-M16 | 31.92 | 32.31 | 32.43 | 32.82 |
| 150 | 159 | 203 | 165 | 260 | 315 | 65 | 28 | 25 | 76 | 38 | 4.5 | 6 | 10 | 6-M16 | 35.77 | 36.17 | 36.31 | 36.72 |
| 200 | 219 | 265 | 226 | 320 | 375 | 65 | 28 | 25 | 76 | 38 | 6 | 6 | 10 | 6-M16 | 44.69 | 45.29 | 45.29 | 45.87 |
| 250 | 273 | 325 | 280 | 380 | 435 | 65 | 28 | 25 | 76 | 38 | 8 | 8 | 10 | 8-M16 | 59.41 | 60.22 | 60.43 | 61.33 |
| 300 | 325 | 377 | 333 | 435 | 495 | 72 | 28 | 30 | 90 | 46 | 8 | 10 | 10 | 8-M20 | 89.37 | 90.02 | 90.35 | 91.14 |
| 350 | 377 | 426 | 385 | 485 | 545 | 72 | 32 | 30 | 90 | 46 | 10 | 10 | 10 | 8-M20 | 99.74 | 100.3 | 100.7 | 101.5 |
| 400 | 426 | 480 | 435 | 540 | 600 | 72 | 32 | 30 | 90 | 46 | 1O | 10 | 10 | 12-M20 | 114.0 | 114.8 | 115.3 | 116.4 |
| 450 | 480 | 530 | 488 | 590 | 650 | 72 | 32 | 30 | 90 | 46 | 10 | 1O | 10 | 12-M20 | 124.1 | 124.7 | - | - |
| 500 | 530 | 585 | 538 | 645 | 705 | 72 | 32 | 30 | 90 | 46 | 10 | 10 | 10 | 16-M20 | 139.3 | 140.5 | - | - |
| 600 | 630 | 690 | 640 | 755 | 820 | 75 | 32 | 30 | 104 | 54 | 10 | 10 | 12 | 16-M24 | 197.2 | 198.2 | - | - |
| 700 | 720 | 780 | 730 | 845 | 910 | 75 | 40 | 30 | 104 | 54 | 10 | 1O | 12 | 20-M24 | 222.6 | 223.7 | - | - |
| 800 | 820 | 880 | 830 | 950 | 1020 | 80 | 40 | 40 | 117 | 60 | 10 | 10 | 12 | 20-M27 | 280.0 | 282.3 | - | - |
| 900 | 920 | 980 | 930 | 1050 | 1120 | 80 | 40 | 40 | 117 | 60 | 10 | 10 | 12 | 20-M27 | 309.6 | 312.2 | - | - |
| 1000 | 1020 | 1080 | 1030 | 1150 | 1220 | 80 | 40 | 40 | 117 | 60 | 10 | 10 | 12 | 24-M27 | 341.1 | 344.0 | - | - |
注:订货时注明管子外径,大于DN1400、墙厚大于或小于300mm的产品可订制加工。